Ein 80 Jahre altes Hochtöner-Design. Exakt nachgebaut von chinesischen Retro-Spezialisten.
Für funktionsfähige Originale werden fünfstellige Dollar-Beträge bezahlt. Nicht ohne Grund.
Zugegeben: ich hatte mir keine Illusionen erlaubt. Hatte sogar mit Retro-Tönen gerechnet. Mit böse gerichteten, womöglich ziemlich harschen Klängen, die aufs Ohr drücken. Denn was der großen und recht inhomogenen Gemeinde von „Old-Fi“-Freunden manchmal gefällt, muss erfahrungsgemäß nicht unbedingt und immer HiFi sein. Gegen dieses Szenario sprachen allerdings „Auskünfte“ aus eingeweihten Kreisen: genießerisches, wissendes Lächeln, verbunden mit der üblichen Geheimnistuerei und einigen „Insider“-Informationen – dass „man“ sich die Line-Magnetic- Repliken des berühmten Western- Electric-Hochtöners 597 ja schon längst zugelegt habe, dass es bereits „diverse Installationen“ gebe, deren Besitzer die doch nicht unerhebliche Summe genauso kalt grinsend hingeblättert hätten wie unsereiner mal zehn Cent in den Kaugummi- Automaten dreht.
Als HiFi-Freak dürften Sie solche Gespräche kennen: Man kommt sich schlagartig wie ein armer Hund vor, dem ein saftiges Steak glatt unter den Pfoten weggezogen wurde. An sich hätte mir das alles nichts ausmachen dürfen. Ich höre privat nämlich Breitbänder, genauer gesagt seit vielen Jahren ein Phy-Hp- Chassis in der Rondo von Auditorium 23. Vorsichtige Hinweise von lieben Freunden auf mögliche „Ergänzungen“ in Form von Hochtönern oder Subwoofern kommen bei echten Breitbänder-Fans ungefähr so gut an wie der Vorschlag, den Tonabnehmer mit der Spülbürste zu putzen. Nicht mit mir, knurrte ich. Bleibt mir vom Leib mit euren Hochtönern. So’n Zeugs brauche ich nicht! Blasphemie!
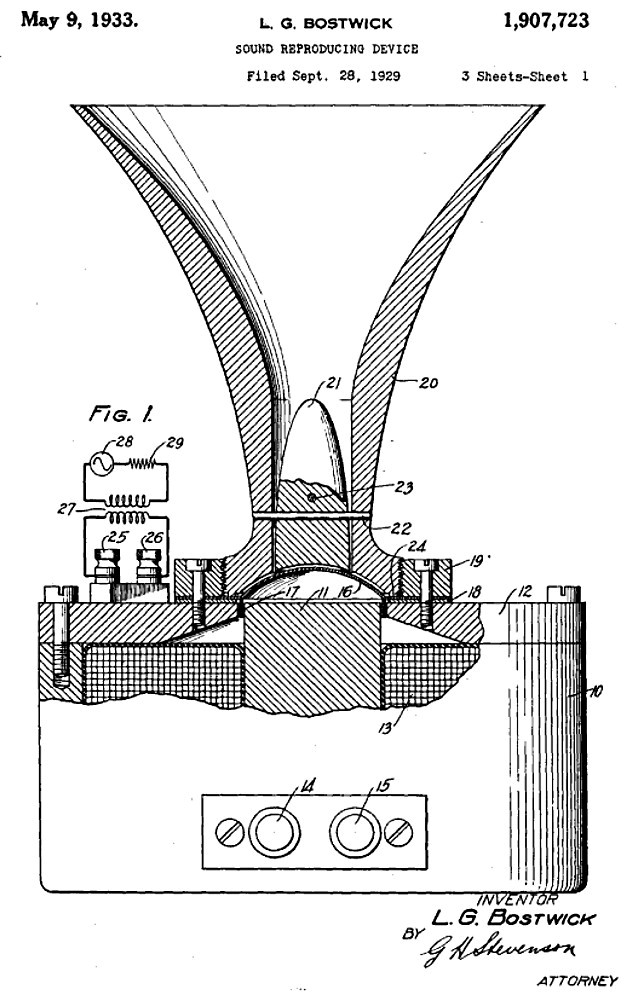
Natürlich rumorte die Geschichte in den hintersten Gehirnwindungen weiter. Sollte ich nicht doch? Mal reinhören kann ja nicht wehtun. Insgeheim hatte ich natürlich schon Hochtöner ausprobiert, doch keiner hatte mir so recht gefallen. Aber aus meiner Rondo endgültig einen Zweiwege-Lautsprecher machen? Mit mir nicht! Doch es kam, wie es kommen musste: Irgendwann lag eine kleine, aber überraschend schwere Schachtel da, die ich, wenn ich ehrlich bin, tatsächlich auch bestellt hatte! Mit dabei: ein ziemlich beeindruckendes Netzteil. Mir war schon geflüstert worden, dass die Spannungsversorgung von Feldspulen alles andere als trivial sei. Klanglich sollte sich da wohl allerhand tun! Apropos Feldspulen: der 597 ist tatsächlich das erste Hochton-Horn – oder der erste Hochtöner – in der Lautsprechergeschichte. So um 1930 entwickelt von L. G. Bostwick, gehörte der auch „The Bostwick“ genannte Tweeter zum damaligen Western-Electric-„Wide Range“-Kinosystem. Diese Dreiwege- Geschichte soll übrigens wegen gewaltiger Phasenprobleme zwischen den Treibern ein ziemlicher Flop in puncto Synchronizität mit dem Bild gewesen sein. Gemessen an heutigen Standards sehen die Daten des 597 nicht gerade nach Superlativen aus; die nutzbare Übertragungsbandbreite liegt zwischen drei und 18 kHz, die Belastbarkeit bei knapp sechs Watt. Verbunden mit gewaltigem Wirkungsgrad, versteht sich – ein Amp mit ein oder zwei Watt Leistung reicht hier locker aus! Der 597 ist ein sogenanntes „fremderregtes“ Chassis, er besitzt also keinen Permanentmagneten, sondern einen Elektromagneten, dessen 6,6-Ohm-Feldspule mit nominal sieben Volt Gleichspannung „beheizt“ wird. Die eigentliche Schwingspule weist dagegen eine Impedanz von 25 Ohm auf. Daneben existiert(e) noch die Variante WE 597B mit einer Feldspule von 84 Ohm und 24-Volt-Versorgung. Heutzutage ist der 597, wie vieles, was von Western-Electric-Kinosystemen übrigblieb, ein heiß begehrtes Sammlerstück, für das regelrechte Fantasiepreise bezahlt werden. Und derlei Begehrlichkeiten rufen natürlich die Nachbauer auf den Plan. So sind von dem extrem nachgefragten WE 597 Repliken der japanischen Firmen Western Labo, G. I. P., Eltus und Kano sowie eines ebenfalls japanischen Herrn namens Ogawa bekannt.
Die chinesischen Retro-Spezialisten von Line Magnetic Audio fertigen in unvergleichlich großem Stil WE-Replikate und beschäftigen sich nicht nur mit entsprechenden Hörnern und Treibern, sondern auch mit den WE-Verstärkern (von denen es nicht gerade wenige gibt). Selbst betont kritische, eingefleischte WE-Kenner bescheinigen Line Magnetic nicht nur, klanglich den Originalen ebenbürtige Nachbauten abzuliefern, sondern darüber hinaus absolute Vorbildtreue, die bis in tiefste Abgründe reicht, was zum Beispiel das Rohmaterial angeht. So etwas ist heutzutage wohl nur noch in China machbar. Dass einige Sammler mit großen Western-Electric-Originalbeständen die Nachbauten zwar nicht regelrecht kritisieren – das dürfte auch kaum objektiv möglich sein –, aber mit einem kleinen Anflug von Überheblichkeit kommentieren, ist menschlich durchaus verständlich, denn gute Repliken sind den Preisen von Originalen nicht gerade förderlich. Wird doch mit der Vintage- HiFi-Archäologie schon seit langer Zeit rasant Geld verdient: Ein guter Fund auf dem Schrottplatz oder in einer Kino-Ruine rechnet sich da flugs und nachgewiesenermaßen zu horrenden Beträgen hoch.
Für den im Vertrieb von Auditorium 23 befindlichen Line Magnetic 597 benötigt man eine 7-V-Stromversorgung, die pro Hochtöner etwa ein Ampere liefern kann; denkbar wären hier einfache einstellbare Gleichspannungs-Netzgeräte bis hin zu technisch und klanglich deutlich luxuriöseren Optionen wie etwa das Doppel-Netzteil von Acoustic Plan. Claus Jäckle hat alle Belange von Kennern der Materie berücksichtigt. Die nämlich halten simple Netzteile zur Feldspulenversorgung fremderregter Chassis – unter „simpel“ versteht man in diesen Kreisen etwa elektronische Spannungsregler – für Unfug und verweisen ernsthaft auf den erstaunlicherweise hohen Einfluss, den die „Art“ der Stromversorgung auf den Klang ausübe. In der Praxis läuft es darauf hinaus, hier besser „alte“ Konzepte zu benutzen, weshalb historische Selen- Gleichrichter nebst Rheostaten (sehr präzise einstellbare, belastbare Drahtwiderstände) in einer rein passiven, also ungeregelten Netzteilkonfiguration zum Einsatz kommen. In C. Jäckles Netzteil stehen außerdem zwei getrennt einstellbare Versorgungen für insgesamt vier Chassis zur Verfügung, womit parallel zu den beiden Hochtönern auch zwei weitere fremderregte Treiber bedient werden können. Große Displays zeigen die Spannung an, mit der man gerne etwas „spielen“ darf; tatsächlich ist der Klang fremderregter Treiber so um ein gewisses Maß beeinflussbar, keinesfalls sollte jedoch die Nennspannung von sieben Volt dabei überschritten werden. Eine leichte Erwärmung des Treibers ist übrigens normal und rührt von der aktiven Feldspule her. Für das Teamwork mit dem Phy-Hp, der vorerst unbeeinträchtigt bis an seine „natürlichen“ oberen Grenzen durchlaufen durfte, wurde dem LM 597 mithilfe eines Kondensators eine passive 6-dB-Weiche vorgeschaltet, die zugegeben recht freakige alte Ölpapier-Kapazität fand ihren Platz gleich hinter dem Hochtöner, dessen ziemlich fummelige kleine Schraubanschlüsse den ein oder anderen Nerv kosteten. Eingeweihte Kreise bescheinigen diesem Kondensator, dessen Typ ich nur unter vier Augen verraten darf, schier überirdische Fähigkeiten 🙂 Ich bin jedoch sicher, dass man diesbezüglich auch deutlich „moderner“ fündig werden kann, etwa bei Mundorf . Den trotz des mit 96 Dezibel bereits ziemlich „lauten“ Phy-Hp immer noch vorhandenen Wirkungsgrad-Unterschied habe ich anfangs in Kauf genommen, da mir letztlich ohnehin Bi-Amping über regelbare Endstufen vorschwebte; später kam in der Passivvariante ein sogenannter L-Regler hinzu, der freilich auf die Impedanz des 597 ausgelegt sein muss (ein Online- Rechner hierzu: www. sengpielaudio. com). Beim Experimentieren hätte ich dann fast vergessen, dass die resultierende Impedanz der nunmehr parallel geschalteten Chassis aus der 16-Ohm-Rondo eine 8-Ohm- Box macht, also bitte den Endstufen- Anschluss wechseln!
Auf Anhieb fällt auf, wie sehr dieser außergewöhnliche Hochtöner „verschwindet“, er ist praktisch überhaupt nicht ortbar, obwohl er Energie in einem Maßstab freisetzt, der mir bisher unbekannt war. Von „Richtung“ keine Spur, nicht einmal bei geringem Hörabstand. Ähnlich glasklare, völlig abgelöste und vor allem superschnelle (hohe) Töne habe ich noch niemals gehört, das kleine Wunder ist wohl, dass der 597 dabei stets weich, butterzart und immer angenehm bleibt. Übrigens war das selbst dann so, als sein Pegel in Relation zum Breitbänder anfangs noch zu hoch war.
Damit ist die imposante Vorstellung aber noch lange nicht zu Ende, denn der weite Horizont, der sich nun mit immenser Strahlkraft schier cinematografisch hinter der Lautsprecherebene auftut, reißt den Breitbänder förmlich mit, als höre man einen völlig neuen Lautsprecher. Der nun in seiner Gesamtheit schon furchterregend an reiner Geschwindigkeit zugelegt hat, ein Effekt, der seltsamerweise bis hinunter zu tiefen Frequenzen wirksam ist, die vom 597 in puncto Facettenreichtum mehr als nur profitieren. Glücklicherweise bleiben aber die Klangkörper in der vom Breitbänder gewohnten Homogenität erhalten, hier teilt sich nichts in „zwei Wege“, und die enorme, völlig unverzerrte Präsenz des Klanges mutiert trotz der nun profund und lässig in den Raum geworfenen, akkuraten Hochton-Energie nicht zur Nervigkeit, obwohl die Farbenpalette des für einen Breitbänder ohnehin höhenstarken Phy-Hp extrem dazugewonnen hat. Wie man damals dem 597 die Marotten späterer mit Hornvorsatz bestückter Hochtöner abgewöhnt, nein, falsch, gar nicht erst anerzogen hat, bleibt mir ein Rätsel. Bei ähnlichen Konzepten, die mir früher vor die Ohren kamen, handelte es sich fast durchweg um doofe (pardon!), einfach nur laute Tröten, die mit HiFi wenig bis gar nichts zu tun hatten, um irgendwie tönende Karikaturen, gegen die selbst Metallkalotten mit ihrem latent stählernen Timbre geradezu als Wohltat durchgingen.
Der 597 scheint dagegen von einem anderen Planeten zu stammen und hat, wenn Sie mich fragen, keinen ernst zu nehmenden Konkurrenten ganz gleich, welcher Fraktion der abstammen sollte. Die Liebhaberpreise für Originale wollen mir nun fast einleuchten. Zieht man den saftigen Raritätenzuschlag in Sammlerkreisen, wo Haben vielleicht manchmal wichtiger ist als Hören, einmal ab, ist der 597 wohl immer noch jeden verbleibenden Dollar wert. Was die offenkundig perfekte LM-Kopie als HiFi-Bazillus getarnt bei Ihnen anrichten würde, weiß ich nicht. Mich hat es auf jeden Fall so gründlich erwischt, dass Therapien in Form von deutlich preisgünstigeren Bändchen, Kalotten, Folien oder Plasmaflammen nicht mehr helfen werden. Außerdem verabschiede ich mich jetzt offiziell von der „Einwegigkeit“. Was stört mich mein Geschwätz von gestern.
„From my cold dead hands“, wetterte einst der sture Haudegen Charlton Heston und meinte damit wohl seine Winchester. Ich beziehe das jetzt auf die Baunummern 98 und 99 des LM 597 – from my cold dead hands. Keinen Augenblick eher.











